Илон Маск опубликовал видео запуска Falcon Heavy
Илон Маск опубликовал на своей страничке в Instagram видео, демонстрирующее концепт "самой мощной ракеты" - Falcon Heavy. По видео можно понять, что у проектируемой рак...
Украинский дизайнер представил новый концепт Maserati
Сергей Дворницкий, украинский дизайнер, работающий в итальянской студии TorinoCrea, разработал футуристический суперкар Maserati Genesi. Этот концепт-кар оснащен встрое...
Ученые рассказали, как снизить риск заболевания при авиаперелетах
Авиаперелеты - это эффективный способ транспортировки не только людей, но и заболеваний. Теперь ученые, наконец, придумали наиболее оптимальный метод для ограничения ур...
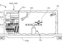
Amazon получила новый патент на беспилотную доставку
Несмотря на законодательный запрет беспилотной доставки грузов компания Amazon продолжает развивать эту технологию, видимо, надеясь на изменения в законодательной базе....
General Motors выпустила электромобиль стоимостью 5300 долларов
Вокруг "доступной" Tesla 3 было много шума, но она все равно стоит очень дорого по сравнению с новейшим электромобилем Baojun Е100 от General Motors. Электромобиль може...
Сигаретные фильтры можно использовать для производства асфальта
Ежегодно в мире производят 6 триллионов сигарет, которые в итоге превращаются в 1,2 миллиона тонн мусора, притом большая часть окурков в конечном итоге попадают в окруж...
IKEA показала свою новую солнечную батарею
IKEA представила солнечную батарею, которую можно использовать в комплекте с панелью этой же компании.
В 2013 году шведская компания, которую принято ассоциировать...
Разработан фонарь работающий на воде
Как правило, технику стараются держать подальше от воды, но это правило эксплуатации не касается фонаря Hydralight, ведь он работает на воде в качестве топлива.
Эт...
Армии используют шлем из «Звездных войн»
SAS SOLDIERS создали шлем, который способен полноценно защитить человека от ранения. Boba Fett был частично списан со шлемов из «Звездных войн».
По словам создателе...
Представлена система, сохраняющая воду в душе теплой
Современные технологии пытаются полностью устранить даже малейшие неудобства, которые возможны в повседневной жизни. Одним из таких улучшающих быт приспособлений являет...

















