В Clubhouse можно принять участие в конференции TED
Возможно, пройдет некоторое время, прежде чем личные переговоры в рамках крупного американского частного некоммерческого...
Радиоуправляемая стрекоза идеальна для исследований
У каждого в детстве была любимая игрушка. У кото-то она была большая, а у кого-то маленькая, у кого-то мягкая, а у кого-...
Создана колонка с музыкальным огнем
Music City Fire System - это музыкальная система, которая способна визуализировать музыку в реальном времени открытым ог...
Плоский Программируемый Стол меняет форму без никаких инструментов
Мебель с плоским корпусом эффективна как на стадии своего не самого сложного производства, так и является удобной во вре...
Разработана первая в мире система безопасности работающая от картофеля
С помощью системы оповещения PIA globio, пользователь может контролировать безопасность дома и отсутствие внутри него по...
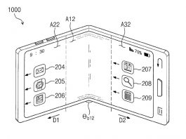
В сети появились новые подробности Galaxy Note 20 и Note 20+
Как вы можете знать, у южнокорейского технического гиганта Samsung имеется сразу три основные линейки смартфонов, а имен...
Ожидается анонс новой модели G7 от LG
Все поклонники современных новинок мобильной техники могли уже во время первого дня открытия технологической выставки C...
Гроб напоминающий гигантский шуруп
В голову даже не приходило, что какие то новшества могут затронуть похоронное дело.Но и тут нашлись изобретатели, которы...
Изобретен искусственный нанотермометр на основе ДНК
Исследователи из Монреальского Университета создали программируемый нано-термометр на основе ДНК, который по своим разм...
Samsung Galaxy Tab S4 будет представлена на выставке MWC 2018
Компания Samsung вновь намеревается представить широкой общественности и своим поклонникам новую модель планшетов из ли...
























