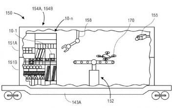
В Австралии запустили автономный поезд
Подобно грузовым перевозкам, в горнодобывающей промышленности, где поезда перевозят тяжелые грузы по одному и тому же ма...
Компания из Сингапура предложила самый странный мотоцикл
Motochimp — это новый, и очень компактный, мотоцикл работающий на электричестве. Создан Motochimp инженерами из Сингапу...
ФАТУ США облегчила законы в отношении использования дронов ночью и над толпой
Федеральная Администрация Транспортного Управления США сегодня
поделилась весьма важными и интересными новостями,...
Tesla Roadster обзаведется набором реактивных двигателей
Еще в ноябре прошлого 2017 года компания Tesla оповестила общественность о выпуске новой спортивной модели электромобиля...
Lyft добавила кнопку 911 для пользователей своего интернет-приложения
Сегодня каршеринговая компания Lyft оповестила широкую общественность о том, что выпустила новое обновление для своего ...
Ford представила свой самый технологичный пикап F-150
Крупный автомобилестроительный гигант Ford на днях умудрился всех удивить, внезапно представив свой новый автомобиль F-1...
General Motors выпускает новую модель электровелосипеда
Компания General Motors уже длительное время говорила о своем желании выпускать на постоянной основе электровелосипеды ...
Tesla добавила новую возможность в новой версии ПО
Руководство Tesla заявило, что компания начала активно развёртывать свою новую функцию для системы автопилота, которая п...
Необычный электромобиль Aspark Owl уже протестирован
В мире электромобилей современности некоторые модели вызывают неподдельное удивление даже у наиболее искушенных пользов...
Скейтборд с двигателем — фантастическая реальность
Скейты на двух колесиках не такое уж и редкое явление, а вот двухколесные скейтборды с двигателем — это уже нечто уникал...




















